Умная система от Ford будет следить за положением грузов в пикапах
Содержание:
Американский бренд подал патент на революционную систему, которая может предотвратить скольжение различных грузов, которые находятся на платформе пикапа.

Патентные заявки в Ведомство по патентам и товарным знакам США (USPTO) показывают, что Ford работает над новым типом системы управления грузами для своих пикапов, таких как новый компактный Maverick и огромный Ford F-150. Как отмечают представители Ford, эта технология может изменить «правила игры» в сегменте кузовов грузовиков.
Это, вероятно, самый высокотехнологичный патент на хранение вещей в вашем грузовике.

Компания Ford выпустит 600 000 электромобилей по всему миру
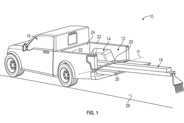
В заявке указывается, что датчики будут определять расстояние, на которое объект выходит за пределы грузовой платформы автомобиля. Используя эти данные, система может затем сделать вывод, нарушаете ли вы какие-либо местные (или худшие) федеральные правила. Таким образом можно позабыть о больших штрафах за негабаритный груз.
Основываясь на опубликованных патентных иллюстрациях, похоже, что система способна постоянно контролировать вещи, находящиеся в грузовой платформе. И если что-то пойдет не так и находящиеся грузы «захотят» самостоятельно покинуть автомобиль, водитель будет уведомлен об этом.
Эта система может быть настолько точной или неточной, насколько того требует ситуация. Подобная технология может быть очень полезна для парковки в ограниченном пространстве или на многолюдных рабочих местах. У нас уже есть технология парковочных датчиков, так что, возможно, запатентованная технология сможет ее дополнить.
Мы хотели бы знать, может ли эта функция определения положения найти применение в борьбе с кражами. Было бы неплохо оставить что-нибудь в кузове грузовика и включить сигнализацию, если кто-то потянется к кузову, когда грузовик заперт. Те же самые датчики положения могут быть использованы для этого приложения.

Не так давно, наше издание писало о том, что компания Ford тестирует кроссовер Escape Active без камуфляжа. Западные издания опубликовали фотографии с тестовым прототипом кроссовера Ford Escape Active. Более внедорожная версия модели не получила камуфляжа.