Ford придумал выдвижные поручни для пикапов. Расскажем, в чем их главная польза
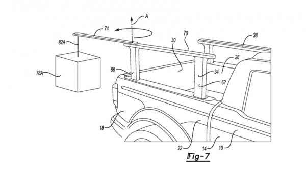
Американский бренд придумал и запатентовал выдвижные поручни, которые будут использоваться на грузовых платформах некоторых пикапов Ford. Система позволяет более эффективно загружать и закреплять груз без использования дополнительного оборудования.

Патент, полученный компанией Ford на выдвижные поручни для кроватей, представляет собой инновацию, которая может оказаться чрезвычайно полезной для людей разного возраста и состояния здоровья. Эта технология не только улучшит комфорт и безопасность сна, но также принесет значительные преимущества в повседневной жизни.

Основное преимущество выдвижных поручней заключается в их универсальности и функциональности.

Что случилось с электрическим Ford F-150 Lightning после 150 000 км. пробега
Они способны обеспечить поддержку и стабильность как пожилым людям, которым нужна помощь при вставании из кровати, так и детям, которым важна защита от падений во сне. Благодаря возможности регулировки высоты и наклона поручней, каждый пользователь сможет настроить их под свои индивидуальные потребности.
Кроме того, выдвижные поручни могут стать необходимым аксессуаром для людей с ограниченными физическими возможностями или для реабилитации после травм или операций. Их использование значительно облегчит процесс передвижения в постели и повседневной жизни, способствуя быстрому восстановлению и повышению самостоятельности.
Другим важным аспектом является безопасность. Выдвижные поручни смогут предотвратить падения из кровати, особенно в случае сна у детей или пожилых людей. Таким образом, они снизят риск получения травм и улучшат качество сна, способствуя общему благополучию и здоровью.
Благодаря патенту Ford на эту инновацию, можно ожидать, что подобные технологии станут более доступными и широко распространенными на рынке. Развитие данного направления способствует созданию более удобной и безопасной среды для сна и отдыха, улучшая качество жизни многих людей.

Не так давно, наше издание писало о том, что внешность нового седана Acura TLX раскрыта на патентных фотографиях. В Сети появились патентные фотографии, на которых изображена новая версия япоснкого премиального кроссовера Acura TLX версии 2026 модельного года и они вызвали достаточно большой интерес у истинных поклонников бренда и любителей автомобилей в целом.