Aston Martin заявляет о прорыве в области создания легких аккумуляторов
Содержание:
Новое открытие, сделанное инженерами британского бренда предполагает, что сотрудничество в области создания полностью электрических автомобилей с американским Lucid не будет всеобъемлющим.
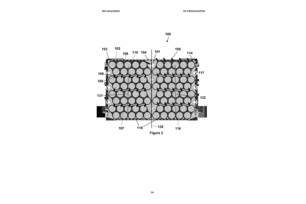
Похоже, что первый полностью электрический автомобиль британской компании, внедорожник, который, как ожидается, выйдет в свет в следующем году, будет оснащен батареей, разработанной инженерами Aston, с высокоэффективным охлаждением. Западным СМИ стало известно, что дочерняя компания подала патентные документы во патентное Ведомство на новую инновационную конструкцию батарей для полностью электрических транспортных средств или гибридных автомобилей, и эта новая конструкция «обеспечивает улучшенные характеристики аккумулятора за счет улучшенного температурного управления элементами конкретного транспортного средства».
Другими словами, Aston Martin разработал батарею, которая лучше сохраняет прохладу даже если в очень ограниченном области пространства. В результате этого он может стать легче.

Aston Martin раскрыл информацию о новой версии суперкара Vantage
В патенте описывается проблема неравномерного охлаждения высоковольтных аккумуляторных блоков жидкостью. В большинстве случаев поток и/или температура около определенных ячеек в блоке неоднородны, что может привести к недостаточному охлаждению некоторых элементов батареи и повышенным температурам.
Эта проблема возникает из-за параллельного соединения ячеек (или модулей, состоящих из нескольких последовательно или параллельно соединенных ячеек). Когда одной ячейке требуется уменьшить ток для охлаждения, все остальные ячейки, подключенные к ней, также должны снизить свой ток. Таким образом, чтобы предотвратить потерю производительности электромобиля.

Не так давно, наше издание писало о том, что в России запущены продажи гибрида Voyah Dream Long Range с новой батареей. Запас хода гибридного минивэна на одном электричестве вырос до 185 километров, а отдача силовой установки теперь составляет 422 л.с.